In Konfigurationen, bei denen der CA ARCserve Backup-Server sich nicht in einem SAN befindet, wird jeder CA ARCserve Backup-Server so konfiguriert, dass er eine bestimmte überschneidungsfreie Menge von Band-Volumes der Enterprise Tape Library 3494 steuert. Das bedeutet, dass jeder CA ARCserve Backup-Server eine eigene benutzerdefinierte Untermenge von Band-Volumes der Enterprise Tape Library 3494 verwaltet, die umgekehrt ausschließlich diesem CA ARCserve Backup-Server zugewiesen sind.
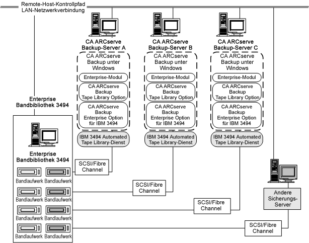
Jeder CA ARCserve Backup-Server besitzt eine eigene, unabhängige Ansicht der Enterprise Tape Library 3494, die nur die lokal zugewiesenen Volumes anzeigt. Die folgende Abbildung zeigt die Architektur der CA ARCserve Backup Enterprise Option für IBM 3494 und die Kommunikationsschnittstellen zur Enterprise Tape Library 3494:

Wenn mehrere Sicherungsserver die Enterprise Tape Library 3494 gemeinsam nutzen, müssen Sie sicherstellen, dass jedes Band-Volume nur einem Sicherungsserver zugewiesen ist. Die Mengen der Band-Volumes, die den verschiedenen Sicherungsservern zugewiesen sind, sollten keine Überschneidungen untereinander aufweisen, das heißt, auf jedes Band-Volume kann nur ein einziger im Netzwerk befindlicher Sicherungsserver zugreifen.
Die überschneidungsfreie Zuweisung von Band-Volumes erfordert eine genaue Planung. Zur Vereinfachung der Planung sollten Sie die zugewiesenen Band-Volumes für jeden Sicherungsserver dokumentieren, der an der gemeinsamen Nutzung der Enterprise Tape Library 3494 beteiligt ist.
Wichtig! Wenn Band-Volumes gemeinsam von verschiedenen Sicherungsservern genutzt werden, besteht das Risiko, dass Sie wichtige Sicherungsdaten verlieren.
Hinweis: Bevor Sie weitere Sicherungsserver zu einer bestehenden Konfiguration hinzufügen, sollten Sie zunächst die aktuellen Band-Volume-Zuweisungen überprüfen, damit Duplikationen vermieden werden.
| Copyright © 2011 CA. Alle Rechte vorbehalten. | Senden Sie CA Technologies eine E-Mail zu diesem Thema. |