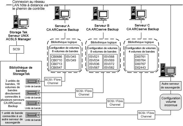
Les affectations de volumes de bandes déterminent la configuration du volume pour la bibliothèque logique définie par l'utilisateur sur chaque serveur CA ARCserve Backup. Dans l'illustration qui suit, un ensemble unique de volumes de bandes définit la bibliothèque logique pour chaque serveur CA ARCserve Backup.

Dans cet exemple, la bibliothèque de bandes StorageTek ACSLS compte quatre lecteurs de bandes directement reliés à plusieurs serveurs de sauvegarde sur le réseau. Les affectations de volumes de bandes uniques pour chaque serveur CA ARCserve Backup sont répertoriées ci-dessous.
Un autre serveur de sauvegarde sur le réseau qui n'exécute pas CA ARCserve Backup peut afficher une configuration différente.
|
Copyright © 2013 CA.
Tous droits réservés.
|
|